入金管理
入金管理
入金管理では銀行振込やその他の支払い方法の入金を管理することができます。
入金管理の検索
①画面左のメニューバーより 【受注管理】 > 【入金管理】をクリックします。
②入金情報の条件を指定してしていただき「検索」ボタンをクリックします。
※出力される注文は支払い方法が銀行振込かその他の支払い方法のみとなります。

③CSVで検索される場合は、「CSVから検索」をクリックし、CSVをアップロードしてください。
(CSVは注文番号が縦にならんだものをご用意ください。)

入金管理の検索項目
| 検索項目 | 項目の説明 | 入力例 |
| 注文番号 | 注文番号を指定します。 | ON-171028125819-000-000000 |
| 入金状況 | 未入金:未入金状態の注文を確認したい場合
※初期状態でチェックが付いている状態となります。 入金済み:既に入金されている注文を確認したい場合 | |
| 注文タグ | 注文タグでも注文指定が可能です。 | 入金連絡あり |
| 請求先氏名 | 請求先氏名を入力します。 ※部分一致での検索となりますので姓だけでも検索できます。 | てもな太郎 |
| 請求先電話番号 | 請求先電話番号を指定します。 ※完全一致での検索となります。 | 0366356452 |
| 請求先E-mail | 請求先E-mailを指定します。 ※完全一致での検索となります。 | temona-con@temona.co.jp |
| 入金日 | 入金日を指定します。 | 2024-10-01~2024-10-31 |
| お支払い方法 | 支払い方法を指定します。 | 銀行振込み |
入金状態の変更
①入金済み状態にしたい注文情報の左側にあるチェックボックスにチェックします。
②「状態変更」ボタンをクリックします。

③「未入金」から「入金済み」にチェックを変更します。
※未入金にされる場合は、「未入金」をクリックください
④「入金日」を指定します。
⑤「入金額」を入力します。
⑥「保存」ボタンをクリックします。

入金状態の変更(一括対応)
①対象の注文を検索していただき「ステータスを変更(検索結果全て)」ボタンをクリックします。

②「未入金」から「入金済み」にチェックを変更します。
※未入金にされる場合は、「未入金」をクリックください
③「入金日」を指定します。
④「保存」ボタンをクリックします。

入金情報の変更
①「編集」リンクをクリックします。

②各情報を変更していただき「保存」ボタンをクリックします。

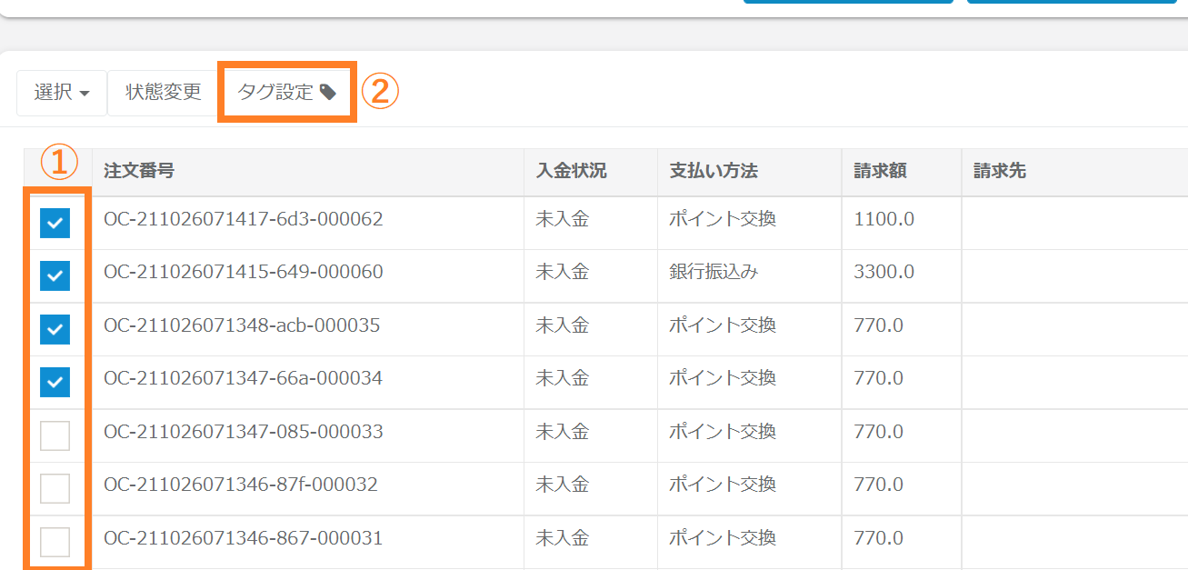
注文タグの設定方法
督促回数の管理などに、注文タグをご活用ください。
①注文タグをつけたい注文の左側にあるチェックボックスにチェックします。
②「タグ設定」ボタンをクリックします。

③ 処理方法をチェックボックスから選択します
④ 処理対象の注文タグを選択します。
⑤「決定」ボタンをクリックします。

メルマガ配信用データの出力
督促のメール等が配信できるように、顧客情報をCSVにて出力します。
※メルマガ配信用フォーマットとなっておりますので、そのままメルマガ配信へ登録可能となります。
①まずは対象の注文のチェックボックスにチェックを入れます。
②続いて「メルマガ用CSVダウンロード」ボタンを押します。

③ポップアップ内の「決定」を押します。

③ 通知が出ましたら「こちら」を押して通知ログへ移動します
※メルマガ配信の手順はこちらをご確認ください

③ 「ダウンロード」を押してCSVファイルをダウンロードします。
